MINIPCIE转双冗余以太网TRDP模块

本系列是广州众志诚信息科技有限公司生产的以太网&TRDP模块转PCIE接口系列协议转换模块。
以太网默认强制全双工100Mbps。
以太网口0作为TRDP0接口,与列车网络0连接,
以太网口1作为TRDP1接口,与列车网络1连接.
编号:D129-MiniPCIeTRDP-100AA
规格参数
功能特点
资料下载
订购信息

1. 规范引用文件

u 电磁兼容满足《EN 50121-3-22006》之规定;

u 以太网满足《IEC61375-2-32015》和《IEC61375-3-42014》标准;

2. 静态参数


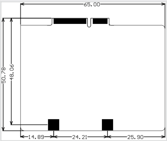
3.机械尺寸

外观尺寸如下2.1所示。


4.温度特性

5.管脚说明

2.1D129-MiniPCIeTRDP-100AA模块管脚名称

6. 底板M12以太网接口参考

以太网采用“ D”型编码的M12连接器,M12连接器具备金属屏蔽外壳。设备端采用孔式连接器, M12连接器点位定义如下所示:

7.指示灯说明

转换器上的4个LED均用来指示功能如2.1所示。





   1 产品特性:

u 100M 强制全双工以太网接口,2KV电磁隔离,默认配置为MDI模式;

u 以太网自带隔离变压器,隔离耐压2500V;

u 以太网协议符合IEC61375-2-3与IEC61375-3-4的要求,支持TRDP协议;

u 支持TRDP过程数据(PD模式)和消息数据(MD模式),支持SDTV2安全数据;

u 以太网支持TTDB自动获取列车动态和静态拓扑;

u MAC地址全球唯一;

u 以太网支持DNS,满足通过域名实现通讯的需求;

u 支持个TRDP模块COMID端口接收,发送报文COMID动态调整

u 集成一路MiniPCIe 接口.

u 主电源采用3.3V直流供电,功耗小于2W;

u 工作温度:-40℃ ~ +85℃

u 存储温度:-40℃ ~ +85℃

u 最大相对湿度:90%


地址:广东省广州市天河区荷光路154号       电话:4008742688,15323368276       邮箱:gzzzc@zzccom.com